Taburete de cartón fácil de montar, resistente y económico
Ideado por dos profesores de la UPM, el asiento se distribuye como una lámina troquelada que convenientemente plegada adopta su forma de uso.
04.05.15
Se fabrica a partir de una única lámina de cartón o material de características similares, la cual, convenientemente plegada, adopta su forma de uso: un taburete de diseño curvo, fácil de montar y muy útil en ocasiones en que conviene disponer de una provisión de asientos de reserva. Sus autores son Pablo Bris y José Vicario, profesores de la Universidad Politécnica de Madrid (UPM) en la Escuela Técnica Superior de Ingeniería y Diseño Industrial.
La demanda de artículos efímeros ha crecido en todos los sectores dedicados a la producción de objetos de uso doméstico. No es una excepción el mercado del mueble, en que las propuestas fabricadas con cartón son ya variadas, desde sillas y butacas a mesas o estanterías. No obstante, la oferta de estos muebles descuida a menudo su diseño, al presentar soluciones muy básicas en las que no se explota todo el potencial del material.
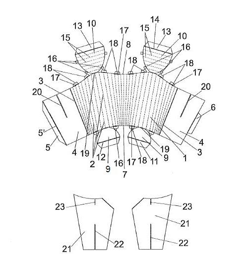
El taburete ideado por los profesores de la UPM, miembros del grupo de investigación Diseño y Fabricación Industrial, resuelve mediante superficies curvas continuas tanto el cuerpo como el asiento. Estas superficies son desarrollables para así fabricarlas (y después distribuirlas y venderlas) a partir de una única lámina, en la que las líneas de precortado, plegado y curvado están realizadas con un mismo troquel.
Los autores del modelo, bautizado con el nombre de Brisvi, sostienen que su diseño curvo consigue, con menor cantidad de material y el consiguiente ahorro económico, mayor resistencia que los taburetes convencionales de cartón que ya existen en el mercado, basados en una configuración poliédrica con aristas y planos en la superficie lateral. El modelo, que se halla en fase de prototipo industrial, está protegido por una patente concedida a principios de este año.
Representación de la lámina de cartón a partir de la cual se obtiene el taburete, así como las dos piezas o secciones que colaboran en la rigidización interna del mismo.
Más información sobre la patente.
